Samsungove skice otkrivaju izgled savitljivog konceptnog mobitela

Savitljivi mobitel se smatra sljedećim “Svetim gralom” kada je riječ o kompanijama koje proizvode pametne mobitele. Glasine o njima kruže godinama, a sada su se pojavile nove skice takvog uređaja.

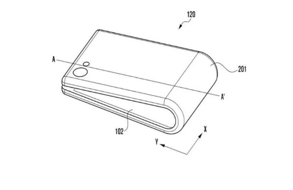
U proteklom periodu je bilo nekoliko prijavljenih patenata, a sada se pojavila skica Samsungovog savitljivog smartphonea. Kompanija je predala dokumente za patent Korejskom uredu za intelektualno vlasništvo ranije ove sedmice, u kojima se navodi da se radi o “fleksibilnom elektronskom uređaju”.

Skice modela prikazuju da se radi o preklopnom dizajnu sa šarkom koja ostavlja dovoljan radijus za savijanje ekrana bez gnječenja ili grebanja. Uređaj ima dva ekrana, od kojih je jedan fleksibilan te se može preklopiti po sredini. Šarka je slična onoj koju posjeduje Surface Book. Patent je sličan onom koji je viđen u novembru prošle godine. Drugi ekran postaje vidjljiv kada je smartphone sklopljen.

Ovaj dizajn nije baš elegantan, posebno ako se smartphone ne može u potpunosti sklopiti. Izbočina koja se pojavljuje kada je sklopljen je itekako primjetna, tako da se ne bi mogao baš lagano staviti u džep.

Samsung je i ranije radio na sličnim uređajima koji bi jednog dana zaista mogli postati stvarnost.

Leave a Reply

Your email address will not be published. Required fields are marked *

This site uses Akismet to reduce spam. Learn how your comment data is processed.